Пресс-вакуумная сушильная камера для дерева VML-3
Предназначены для сушки пиломатериалов хвойных, твердолиственных, ценных, экзотических, а также любых других пород с высокой производительностью и без дефектов традиционной конвективной сушки.
- Технические характеристики
- Доставка
Предназначены для сушки пиломатериалов хвойных, твердолиственных, ценных, экзотических, а также любых других пород с высокой производительностью и без дефектов традиционной конвективной сушки. Пресс-вакуумная сушилка состоит из нержавеющей стальной камеры, которая полностью герметична. Верх камеры закрыт эластичным резиновым покрытием. Доски укладываются внутрь камеры слоями, чередуясь с алюминиевыми нагревательными пластинами. Термомасляный насос обеспечивает циркуляцию термомасла внутри пластин. Термомасло нагревается внешним бойлером, а вакуум внутри камеры создает жидкостная вакуумная помпа. При создании вакуума резиновая мембрана под действием атмосферного давления прижимает штабель досок к полу камеры с давлением до 9500 кг/м2. Таким образом, сушка древесины происходит в вакууме под давлением. При таком методе сушки древесина не деформируется, а наоборот выравнивается.
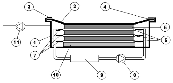
СХЕМА ВАКУУМНОЙ ПРЕСС СУШИЛЬНОЙ КАМЕРЫ:

1. Камера
2. Резин. мембрана
3. Рамка
4. Резин. уплотнитель
5. Древесина
6. Нагрев. пластины
7. Шланги
8. Вод. помпа
9. Нагреватель
10. Термоизоляция
11. Вакуумная помпа
Когда внутри камеры создается вакуум, резиновая мембрана, образующая крышку камеры, прижимается атмосферным давлением к верхней части штабеля, в котором каждый слой досок проложен нагревательными пластинами. Таким образом, штабель сжимается между полом камеры и резиновой мембраной с давлением, близким атмосферному, что эквивалентно примерно 9500 кг/м2. Это означает, что в течение всего процесса сушки каждый слой древесины сжимается между двумя нагревательными пластинами с давлением около 9 тонн на 1 м2. В результате сушки мы получим не только высушенную, но также и очень ровную древесину, которая, в любом случае, не будет более деформироваться.
Сушка в вакууме под давлением позволяет применять более жесткие режимы сушки без повреждения древесины, при этом скорость сушки в 8-10 раз выше, чем при сушке традиционными методами. Например, бук толщиной 32 мм высыхает в этих камерах до влажности 8% за 20 часов, а сосна 25 мм – всего за 12 часов. Кроме того, вакуумные пресс-сушилки занимают немного места, не нуждаются в фундаменте и расходуют меньше тепловой и электрической энергии. Объем одноразовой загрузки камер от 1,5 до 10 м3 позволяет использовать их как на крупных фабриках и заводах, так и на предприятиях с небольшим суточным объемом переработки. Пресс-камеры собраны только из комплектующих следующих фирм: Siemens, Busch Vacuum, Wilo. Главной особенностью нашего оборудования является возможность получения на нем ТМД (Термо Модифицированной Древесины) обработка происходит при 230С˚. Программа сушки устроена таким образом, что при попадании древесины в камеру, автоматика сама определяет степени влажности, и начинает работу с нужного шага, а именно с шага при котором будет максимально снято напряжение и гарантировано отсутствие трещин. Высокие температуры, это большая пожароопасность, поэтому мы предусмотрели 3 аварийных автоматических способа быстрого снижения температуры. Требования к персоналу: управление камерой осуществляется оператором, загрузка-выгрузка двумя рабочими.
![]() |
Камера оборудована пультом управления со встроенным контроллером Siemens S7 1200. Он управляет всеми параметрами, заданными оператором в начале процесса сушки (влажность, температура и давление), и регулирует работу исполнительных устройств, поступающей с датчиков внутри камеры. |
![]() |
Сушильная камера представляет собой резервуар из нержавеющей стали AISI 304. Важной деталью камеры является крышка, представляющая из себя рамку, с натянутой на нее специальной силиконовой мембраной. Камера имеет 5 лет гарантии от коррозии, вызываемой органическими кислотами, выделяющимися из древесины. |
|
Камера оснащена вакуумной помпой Boosh установленной на отдельной раме вместе с конденсором или сверху камеры. Для уменьшения потребления электроэнергии, вакуумная помпа отключается при достижении в камере заданного уровня вакуума. |
|
Загрузка древесины осуществляется вручную. Каждый слой досок прокладывается алюминиевыми нагревательными пластинами. |
|
Нагрев древесины осуществляется прямым контактом с нагревательными пластинами. Каждая нагревательная пластина подключается к камере посредствам высокотемпературных рукавов высокого давления. Процесс обмена теплом между пластиной и древесиной становится более эффективным благодаря создаваемому давлению. Фактически, давление способствует высокой скорости передачи тепла и, соответственно, позволяет выпарить большее количество воды. |
Комплектация камеры
|
Сушильная камера |
к-т. |
|
Силовой шкаф с контроллером и монитором Siemens |
к-т. |
|
Количество нагревательных пластин |
15+1 |
|
Автоматический дренаж |
к-т. |
|
Электробойлер |
60 кВт. Возможна установка с газовым термомасляным котлом (опция) |
|
Конденсер |
к-т. |
|
Порт под компьютер |
к-т. |
|
Вакуумная установка |
к-т. |
| Силиконовая мембрана высокотемпературная +260˚С | к-т. |
| Насос циркуляционный высокотемпературный | 1 шт. |
| 3-х ходовой кран | 1 шт. |
|
Охлаждающая система, нержавеющий теплообменник |
к-т. |
|
Технические характеристики |
|
|
Вместимость пиломатериалов (м³) (в зависимости от толщины пиломатериалов при 35 мм) |
2,6 |
|
Размеры нагревательных пластин (м) |
4х1,4 |
|
Производительность вакуумной установки (м³/час) |
145 |
|
Установленная мощность (кВт) |
60 |
|
Длина (м) |
5,0 |
|
Ширина (м) |
2,2 |
|
Высота (м) |
2,5 |
|
Вес сушильной камеры без пластин (кг) |
2000 |
|
Вес алюминиевых пластин (кг) |
1200 |
Доставка товаров осуществляется по всей территории России, а также в страны СНГ. Отправка заказов в регионы оплачивается покупателем в соответствии с тарифами транспортной компании, осуществляющей перевозку. Доставка оплачивается покупателем при получении груза в транспортной компании. Также возможен самовывоз с нашего склада в Москве.
Мы работаем с компаниями:
-
26 028 369 ₽Артикул: 14095Цилиндрические зубчатые колеса
прямозубые, косозубые
Макс. Ø обработки: 500 мм
Макс. модуль заготовки: 12 ммЗаказать Подробнее63 050 567 ₽Артикул: 14039Поворотно-наклонный стол:
С функцией токарной обработки
Диаметр стола: 1200 мм
Мощность: 122 кВт
Вес: 40000 кгЗаказать Подробнее39 997 801 ₽Артикул: 14038Поворотно-наклонный стол:
С функцией токарной обработки
Диаметр стола: 850 мм
Мощность: 30 кВт
Вес: 20000 кгЗаказать Подробнее38 005 319 ₽Артикул: 14037Поворотно-наклонный стол:
одноопорный
Диаметр стола: 850 мм
Мощность: 30 кВт
Вес: 20000 кгЗаказать Подробнее34 592 695 ₽Артикул: 14036Поворотно-наклонный стол:
С функцией токарной обработки
Диаметр стола: 650 мм
Мощность: 30 кВт
Вес: 13000 кгЗаказать Подробнее33 322 482 ₽Артикул: 14034Поворотно-наклонный стол:
одноопорный
Диаметр стола: 650 мм
Мощность: 30 кВт
Вес: 13000 кгЗаказать Подробнее29 187 589 ₽Артикул: 14029Поворотно-наклонный стол:
С функцией токарной обработки
Диаметр стола: 450 мм
Мощность: 30 кВт
Вес: 9000 кгЗаказать Подробнее27 016 525 ₽Артикул: 14027Поворотно-наклонный стол:
одноопорный
Диаметр стола: 450 мм
Мощность: 30 кВт
Вес: 9000 кгЗаказать Подробнее53 120 567 ₽Артикул: 13990Конические зубчатые колеса
со спиральными зубьями
Ø заготовки: до 150 мм
Модуль заготовки: до 4 ммЗаказать Подробнее -
1 702 128 ₽ 1 801 418 ₽Артикул: 6107Макс. сечение: 180х130 мм
Кол-во шпинделей: 4 шт
Скорость подачи: 6-36 м/мин
Мощность: 28,75 кВтЗаказать Подробнее2 510 638 ₽ 2 815 603 ₽Артикул: 2497Длина заготовки: 400-1500 мм
Макс. ширина заготовки: 580 мм
Станок проходного типа
Узлы: 4 пилы, 2 фрезы
Вес: 3800 кгЗаказать Подробнее2 156 028 ₽ 2 375 887 ₽Артикул: 3090Длина шпона: 1700 мм
Ширина шпона: 1700 мм
Толщина шпона: 1,0 - 3,0 мм
Масса: 4800 кгЗаказать Подробнее3 212 766 ₽ 3 312 057 ₽Артикул: 3088Длина чурака: до 1700 мм
Ø чурака: 90-500 мм
Толщина шпона: 0,5-3,0 мм
Мощность: 38,9 кВтЗаказать Подробнее2 673 759 ₽ 2 758 865 ₽Артикул: 2411Сечение заготовки: 210 х 140 мм
Кол-во шпинделей: 6 шт.
Скорость подачи: 6 - 36 м/мин
Мощность: 41,25 кВт
Вес: 4400 кг
…Заказать Подробнее
Видео
и предоставления услуг

